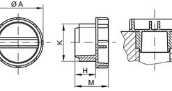
GPN 700 – Screw Plugs